2026-03-31
2026-03-31
2026-03-31
了解一下,冷凍雞翅進口報關流程是這樣的;冷凍雞翅進口報關流程|進口冷凍雞翅尖報關代理|雞翅中進口代理報關行|冷凍雞翅根進口清關公司。
臻力供應鏈是一家為企業提供專業的“全球進口一條龍服務”的物流供應鏈服務公司。從2004年公司成立起,經過15年的發展,目前在擁有10家公司,覆蓋沿海國內的主要口岸,從華北的大連港一直延伸到華南的深圳港。
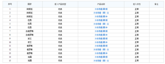
冷凍雞翅允許進口的國家有:阿根廷、巴西、白俄羅斯、波蘭、俄羅斯、法國、泰國、智利,其中最常進口的是“阿根廷、巴西、俄羅斯、智利”。(如需了解冷凍雞肉、雞爪等進口準許國家,您可以提供貨物的海關編碼給我們幫您查詢)。


冷凍雞翅進口報關
作為全球的雞肉消費大國,禽肉類進口逐年上升,那么禽肉類進口商如何從國外進口,需要哪些資質才能進口,進口報關流程是怎樣的?以下是冷凍雞翅進口報關流程,希望能幫到您!

冷凍雞翅進口報關
冷凍禽肉類進口報關,國內進口商的企業資質要求:
(1)進出口經營權;
(2)肉類的經營范圍及肉類資質;
(3)進口食品進出口商備案企業備案(進口辦理);
(4)海關企業年報申報、海關無紙化簽約、電子委托申報簽約(進口辦理)
冷凍雞翅進口報關流程:
簽訂合同--食品中文標簽審核--備貨 --準備冷凍雞翅進口報關單證--發貨到港口--換單--報檢--報關--交稅--貼標簽 -- 申請商檢查驗---貨物放行
關于冷凍雞爪進口報關:
優質凍雞爪主要以巴西、阿根廷、智利、澳大利亞為主,品質好,個頭比較大。隨著中智、中澳自貿協定實 施,進口冷凍肉類關稅逐步下調,進口成本更低。冷凍雞翅進口報關專業代理肉類食品一般貿易進口報關,為企業提供各種冷凍肉類產品進口代理服務,冷凍牛肉、冷凍羊肉冷凍雞腳、冷凍雞爪、冷凍雞翅、冷凍雞腿等,我司在肉類凍柜進口清關方面擁多年進口報關經驗,凍品進口報關流程非常熟悉,歡迎咨詢我們!
冷凍雞翅等凍品進口報關有些單證我司可以代辦,咨詢了解方式:點擊我司網站網頁右下角的咨詢框【在線咨詢】;或者撥打我司全國免費咨詢電話(注:如是下班時間,可給我們留言,我們的客服小姐姐會在看到的第一時間給您致電!上班時間:8:45-18:00)
注明:本文圖片來源于網絡,如有侵權請聯系我們刪除。
化妝品進口清關案例分享,這是一篇關于臻力進口供應鏈代理操作的韓國化妝品進口清關到上海外高橋港海運案例文章,希望你看完能清楚化妝品進口清關的各個環節,順利完成化妝品進口清關的工作,進口化妝品可找臻力代理
2026-03-31
蜂蜜是從蜜蜂采集的開花植物的花朵中釀制的蜂蜜,以下是上海蜂蜜進口清關流程代理食品海運貨代案例分享,進口蜂蜜是需要查詢準入的,您如果需要進口蜂蜜,但是不知道在不在準入范圍內,或者是不懂得如何操作蜂蜜進口
2026-03-31
日本酵素進口清關報關流程以及時長。日本酵素進口清關報關 酵素(fermentnutrition)是指植物進行深層發酵,提取的一種含生物活性物質的低鹽液體。今天給大家講解日本酵素進口相關的內容,希望能幫
2026-03-31
面膜進口報關前期我們是要對收貨企業做個信息備案的,港口信息備案,授權書公證(當然不同口岸有所區別)這是有區別于一般的貨物進口的,當然這個可由臻力進出口報關代理公司來做,下面簡單的給大家介紹一下面膜進口
2026-03-31
需要提供什么單證資料給海關,才能順利進口俄羅斯甘草到國內呢?今天我們就一起來了解一下廣州進口俄羅斯甘草報關資料及流程,如果您有香料或者其他貨物進口,都是可以找我司廣州臻力咨詢了解的,我司擁有大量的進
2026-03-31
生物試劑進口清關報代理關流程以及需要準備的資料有哪些呢?生物試劑(Biochemicalreagent)是指有關生命科學研究的生物材料或有機化合物,以及臨床診斷、醫學研究用的試劑。由于生命科學面廣、發
2026-03-31
緬甸香料肉桂進口清關流程是怎么樣的呢?進口香料清關代理公司需提供什么單證資料給海關,才能順利進口香料到國內呢?今天我們就一起來了解一下緬甸香料肉桂進口清關流程、緬甸香料肉桂進口報關單證資料,還有廣州進
2026-03-31
我司操作的“土耳其開心果進口報關流程到深圳代理堅果食品案例“分享給大家看看!臻力供應鏈創立于2004年,16年專注國際貨運代理、進口清關代理、代理進口單證、ATA單證報關、臨時進出口代理服務,如果您對
2026-03-31

注明:本網站圖片來源于網絡,如有侵權請聯系我們刪除。